产品信息大型输送链
大型输送链可自由组合,以水平、垂直和倾斜等任意方向输送物料。它们无需特殊材料即可承受高达约 200°C 的温度,更高温度下则采用耐热钢。此外,它们还具有耐腐蚀和耐水、耐化学品的特性,使其适用于广泛的应用领域。
几乎任何材料都可以运输,从煤粉、水泥等粉末状材料到小麦、大豆等颗粒状材料,再到矿石、岩石等块状材料,甚至重达数吨的产品,对可运输的材料几乎没有任何限制。
结构
※大型输送链的全长公差为±0.25%。
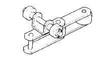
■间隙配合
组合轴和孔时,始终会出现间隙的配合。
孔公差带完全位于轴(销钉或轴套)公差轴上方的配合。
■过盈配合
组合轴和孔时,始终可以拧紧的配合。
孔公差带完全位于轴(销钉或轴套)公差带下方的配合。
| 1.销钉 (CP) | 2.套筒 (B) | |
|---|---|---|
| 销钉最重要的作用是连接外链节内链节。与链板一样,销钉承受着链条在行进方向上的张力以及来自被输送货物在垂直方向上的反作用力。此外,当链条弯曲时,销钉的外周会与衬套的内周滑动,从而造成磨损。销钉是重要的强度部件,但同时也必须具有耐磨性。 | 轴套是链条与链轮啮合时承受链条张力的强度构件,但主要作用是轴承构件。轴套的外周在滚子旋转时与滚子的内周滑动而磨损,轴套的内周在链条弯曲时与销的外周滑动而磨损。衬套内周的磨损直接表现为螺距伸长。 | |
| 3.滚子(R-R、F-R、S-R、M-R、N-R) | 4.板(PLP-A、PLP-B、BLP) | |
| 它与衬套“间隙配合”。啮合链轮时起滚子的作用,缓和冲击及齿面的磨损。另外,行驶时滚动,减少行驶阻力。 | 板主要在链条的行进方向上承受拉伸负荷,在直角方向上承受支撑搬运物的反作用力。链条弯曲时外板和内板滑动,啮合链轮时与齿的侧面滑动。一般来说,外板有圆孔和缺孔。 | |
| 5.T销 (T-PIN) | 6.附件 | |
![]() |
将插针压入外板后,插入T销,弯曲以防止插针脱落。将T销弯曲30°以上,或将其弯曲至T销的一端在板的宽度内。 | 这是固定安装的部件。 附件请参阅下文 "附件的类型",了解更多有关安装件类型的信息。 |
■链的基本3尺寸
节距、滚子直径和内链节宽度被称为滚子链的三个基本尺寸。当这三个尺寸相同时,滚子链和链轮在尺寸上是兼容的。
附件是用于将运输装置连接到链条上的部件。它们可以按所需的链节间隔安装。
标准附件
这是一款经济实惠且用途广泛的附件。
附件
是一侧带有翼片的形式。
螺栓孔数称为A1、A2、A3。
A1附件

A2附件

A3附件

K附件
是两侧带有羽毛的形式。
螺栓孔数称为K1、K2、K3。
K1附件

K2附件

K3附件

GA附件
在一侧的板上有螺栓孔的形式。
螺栓孔数称为GA2、GA4。
GA2附件

GA4附件

专用附件
每个应用程序都有专用附件。
高板

顶辊

侧置滚子

用于流动

特殊附件(加α型输送链)
特殊附件的变体。
带SA附件

一侧带有垂直叶片的形式
包含 SK附件

两侧带有垂直叶片的形式
包含 CA2附件

网的安装
无间隙板条安装用
包含AA3附件

强力夹持附件
包含 AR2附件

附件的弯曲刚度得到改善
(带加强筋)
包含MG2附件

可在1种安装夹具中使用
带AS2附件

刮板及翼板安装
包含 AF2附件

深刮板和翼板安装
包含 WSA0附件

防止运输物溢出
带扩展销

可安装于插针端部
(形式:EN)
带支撑销

直接装在系带销上
装配网等
(形式:TN)
附顶盖

避免划伤运输物
(形式:TP)
带滚轮

水平长距离用
(形式:TRO)
附外滚轮

大负荷支撑
(形式:RO)
带导靴

防侧摆
(形式:GS)
带导辊

水平使用
(形式:GR)
带固定推头

按压搬运
(形式:KD)
带推头滚子

推圆形搬运
(形式:RD)
带倾斜推头

输送机上的存储
(格式:CD)
带滚子倾斜推头

圆形储存
(形式:RCD)
和弓身推头

将搬运物留在指定位置
(格式:DD)
滚子类型
根据使用情况,大型输送链有三种基本滚子形式。
| 大型输送链基本滚子形式 | ||
|---|---|---|
| R滚子 | F滚子 | S、M、N滚子 |
![]() |
![]() |
![]() |
|
|
链轮啮合时有缓和冲击和磨损的作用。
|
以下是大型输送链在输送侧和返回侧采用的滚柱式导向方法示例,以确保输送链平稳运行。
引导方法示例
| R滚子 (S滚子) 型链 | F滚子链 | 带侧置滚子链条 | |
|---|---|---|---|
| 搬运方 | ![]() |
![]() |
![]() |
| 返回侧 | ![]() |
![]() |
![]() |
安全注意事项
切勿将附加零件焊接到装配链上,因为这可能会导致板扭曲导致链弯曲或扭曲,并可能导致零件因热影响而变硬或脆性断裂。
大型输送链产品列表
耐环境大型输送链
备齐了面向要求耐环境性能的用途的传送链和提高了其性能的高级型号。
我们提供通用型不锈钢GS规格,以及GSA规格(该规格提升了耐磨性和最大容许张力SS规格(具有优异的耐腐蚀性、耐化学性、耐热性和耐寒性);SSA规格(提升了衬套与滚子之间的耐磨性);以及MT规格、VT、RT和YT规格链条(这些是特殊功能型产品,在保持最大容许张力同时,提升了各部件的耐腐蚀性)。您可以根据所需的性能和耐腐蚀性选择最合适的环保型链条。
我们提供米制节距和英制螺距的各种类型,并有多种附件可供选择。
我们还提供方便的连接链节、螺丝锁紧式接头只需使用扭矩扳手即可切断和连接和断开。
大型输送链 GS规格
型号RF □□□□□ R・F・S・M-GS~
与DT规格相比,不锈钢链条(基本型号)具有更高的耐腐蚀性。
- - 与通用大型输送链DT规格相比,具有更高的耐腐蚀性。
- ·材质采用不锈钢 (不锈钢400系列) 。
- ·使用环境温度:-20°C*至400°C
- ※在-20°C以下使用时,请向本公司咨询。
尺寸
RF03トン~RF26トン
RF430~RF212
附件类型
A1、A2、A3、K1、K2、K3、GA2、GA4等
滚子式
R滚子、F滚子、
S滚子、M滚子、
N滚子
大型输送链 GSA规格
型号RF □□□□□ R・F・S・M-GSA~
GS规格的高级型号提高了耐磨损性,最大容许张力。(高级型)
- 与GS规格相比,衬套与滚子之间的耐磨性提高了一倍,销与衬套之间的耐磨性提高了 1.5 倍。
R辊和F辊的最大容许张力和允许载荷提高了1.3倍。 - 环境温度:-20°C* 至 200°C
- ※在-20°C以下使用时,请向本公司咨询。
尺寸
RF03吨~RF26吨
英寸系列请咨询敝公司。
附件类型
A1、A2、A3、K1、K2、K3、GA2、GA4等
滚子式
R滚子、F滚子、
S滚子、M滚子
大型输送链 SS规格
型号RF □□□□□ R・F・S・M-SS~
这是比GS规格更高的标准。不锈钢链条具有优异的耐腐蚀性、耐化学性、耐热性和耐寒性。
(基本型号)
- ·材质采用不锈钢 (不锈钢300系列) 。
- ·使用环境温度:-20°C*至400°C
- ※在-20°C以下使用时,请向本公司咨询。
尺寸
RF03トン~RF26トン
RF430~RF212
附件类型
A1、A2、A3、K1、K2、K3、GA2、GA4等
滚子式
R滚子、F滚子、
S滚子、M滚子
大型输送链 SSA规格
型号RF □□□□□ R・F・S・M-SSA~
提高了SS规格规格衬套和滚子之间的耐磨性(高级型号)。
- 与SS规格相比,该规格将衬套和滚子之间的耐磨性提高了 1.5 倍。
- ·R滚子、F滚子的滚子容许负荷也提高了1.3倍。
- ·使用环境温度:-20°C至200°C
尺寸
RF03吨~RF26吨
英寸系列请咨询敝公司。
附件类型
A1、A2、A3、K1、K2、K3、GA2、GA4等
滚子式
R滚子、F滚子、
S滚子、M滚子
大型输送链 MT规格
型号RF □□□□□ R・F・S・M・N-MT~
在保持与DT规格相同的最大允许张力的同时,提高了销和衬套之间的耐腐蚀性。
(功能专用产品)
- -最大容许张力与DT规格相同。
- ·提高了销与衬套之间的耐腐蚀性。
- ·使用环境温度:-20°C至200°C
尺寸
RF03トン~RF120トン
RF430~RF212
附件类型
A1、A2、A3、K1、K2、K3、GA2、GA4等
滚子式
R滚子、F滚子、
S滚子、M滚子
大型输送链VT规格
型号RF □□□□□ R・F・S・M・N-VT~
在保持与GS规格相同的最大允许张力的同时,提高了销和衬套之间的耐腐蚀性。
(功能专用产品)
- -最大容许张力与GS规格相同。
- ·提高了销与衬套之间的耐腐蚀性。
- ·使用环境温度:-20°C至200°C
尺寸
RF03トン~RF120トン
RF430~RF212
附件类型
A1、A2、A3、K1、K2、K3、GA2、GA4等
滚子式
R滚子、F滚子、
S滚子、M滚子
大型输送链RT规格
型号RF □□□□□ R・F・S・M・N-RT~
在保持与DT规格相同的最大允许张力的同时,提高了销、衬套和滚子之间的耐腐蚀性。
(功能专用产品)
- -最大容许张力与DT规格相同。
- ·提高了销、衬套和滚柱之间的耐腐蚀性。
- ·使用环境温度:-20°C至200°C
尺寸
RF03トン~RF120トン
RF430~RF212
附件类型
A1、A2、A3、K1、K2、K3、GA2、GA4等
滚子式
R滚子、F滚子、
S滚子、M滚子
大型输送链YT 规格
型号RF □□□□□ R・F・S・M・N-YT~
在保持与GS规格相同的最大允许张力的同时,提高了销、衬套和滚子之间的耐腐蚀性。
(功能专用产品)
- -最大容许张力与GS规格相同。
- ·提高了销、衬套和滚柱之间的耐腐蚀性。
- ·使用环境温度:-20°C至400°C
尺寸
RF03トン~RF120トン
RF430~RF212
附件类型
A1、A2、A3、K1、K2、K3、GA2、GA4等
滚子式
R滚子、F滚子、
S滚子、M滚子



















