Q&A 链轮
我们已将客户提出的“常见问题”以问答形式发布。请点击问题查看答案。
Q&A 中的词语。
链轮整体关联
RS链轮用于传动链
小型输送链用链轮
| Q60 | 传动链用RS链轮是否可以用于双倍节S滚子? |
|---|---|
| Q61 | RS型传动链链轮能否用于小型输送链? |
| Q62 | 为什么专为双倍节距(S 型滚子)设计的双倍节距链轮建议使用奇数齿? |
| Q63 | 我使用的是空心销双倍节距。我可以使用哪种链轮? |
| Q64 | 小型输送链的安装精度和安装步骤是什么? |
| Q65 | 小型输送链用双倍节距链轮的使用寿命何时终止?需要重点检查哪些方面? |
大型输送链用链轮
| Q66 | 大型输送链用链轮至少需要多少个齿? |
|---|---|
| Q67 | 关于大型输送链用链轮,是否可以制造没有轮毂的A型链轮? |
| Q68 | 大型输送链用链轮有挂孔吗? |
| Q69 | 大型输送链用链轮的安装精度和安装步骤是什么? |
| Q70 | 大型输送链用链轮何时达到使用寿命终点?需要重点检查哪些方面? |

| Q1 | 链轮如何选型? | |||||||||||||||||||||||||||||||||||||||||||||||||||||||||||
|---|---|---|---|---|---|---|---|---|---|---|---|---|---|---|---|---|---|---|---|---|---|---|---|---|---|---|---|---|---|---|---|---|---|---|---|---|---|---|---|---|---|---|---|---|---|---|---|---|---|---|---|---|---|---|---|---|---|---|---|---|
| A1 |
选择链轮时必须考虑所使用链子的型号和规格。 基本步骤如下。
|
|||||||||||||||||||||||||||||||||||||||||||||||||||||||||||
| Q2 | 请告诉我链轮使用的主要材料。 | |||||||||||||||||||||||||||||||||||||||||||||||||||||||||||
| A2 |
本公司使用的链轮材料主要如下表所示。 目录上登载的产品中没有下表所列产品的产品,将通过报价、订单生产进行制作。请咨询。
|
|||||||||||||||||||||||||||||||||||||||||||||||||||||||||||
| Q3 | 链轮使用什么类型的不锈钢? 哪个类型可进行齿端硬化处理? | |||||||||||||||||||||||||||||||||||||||||||||||||||||||||||
| A3 |
用于不锈钢链轮的材料如下表所示。请参考。 目录中列出的不锈钢链轮由奥氏体不锈钢(SUS304系列)制成,由于材料的特性,不能进行齿顶硬化处理(淬火)。 如果您需要使用不锈钢进行齿顶硬化处理,我们可以采用马氏体不锈钢(SUS420系列)进行制造。(需报价/按订单生产) 可提供通过实施表面处理来提高硬度的高强度不锈钢链条。(报价/订单生产品) 如果您有要求的话,请咨询。
|
|||||||||||||||||||||||||||||||||||||||||||||||||||||||||||
| Q4 | 使用不锈钢和钢制的组合链轮和链条时,会有问题吗? | |||||||||||||||||||||||||||||||||||||||||||||||||||||||||||
| A4 |
建议使用相同材质。不锈钢链轮是以与不锈钢链的组合为前提推出的。 例如,不锈钢制链条和钢制链轮电镀型组合使用时,可能会发生电位差腐蚀 (电蚀),导致早期磨损。 |
|||||||||||||||||||||||||||||||||||||||||||||||||||||||||||
| Q5 | 产品目录中提到“齿顶硬化处理”,但链轮究竟进行了什么样的处理呢? | |||||||||||||||||||||||||||||||||||||||||||||||||||||||||||
| A5 |
目录中描述的“齿顶硬化处理”是一种通过高频淬火来硬化表面的工艺。 齿端硬化处理可提高耐磨损性和强度。一般如果回转次数高(单位时间内的链条咬合次数多),或齿数少,接触角度小,存在磨损物的场合,实施齿端硬化处理。 一般而言,机械结构用碳钢被用作齿顶硬化处理的材料,但也可根据要求使用结构合金钢。 作为硬化处理的一种,称之为“齿端硬化处理 =淬火硬化规格”或“无齿端硬化处理 =无硬化规格”。 |
|||||||||||||||||||||||||||||||||||||||||||||||||||||||||||
| Q6 | 请告诉我链轮的各部分名称。 | |||||||||||||||||||||||||||||||||||||||||||||||||||||||||||
| A6 |
链轮各部分的名称如下。
|
|||||||||||||||||||||||||||||||||||||||||||||||||||||||||||
| Q7 | 链轮上标准附带的“固定螺丝”是什么样的螺丝? | |||||||||||||||||||||||||||||||||||||||||||||||||||||||||||
| A7 |
本公司链轮的标准固定螺丝规格为“六角孔固定螺丝 (凹陷处) ”。 适配孔规格以外的标准链轮,特型链轮(报价/订单生产品)一般不添付。 主体为不锈钢类型或电镀规格的产品附带不锈钢制的固定螺丝。 |
|||||||||||||||||||||||||||||||||||||||||||||||||||||||||||
| Q8 | 链轮的形状有什么样的? | |||||||||||||||||||||||||||||||||||||||||||||||||||||||||||
| A8 |
|
|||||||||||||||||||||||||||||||||||||||||||||||||||||||||||
| Q9 | 我想只买A型链轮,焊接轮毂。有问题吗? | |||||||||||||||||||||||||||||||||||||||||||||||||||||||||||
| A9 |
A型链轮上的轮毂焊缝可能会因焊缝过热而无法保持质量。 请客人避免自己焊接,与本公司商谈。 |
|||||||||||||||||||||||||||||||||||||||||||||||||||||||||||
| Q10 | 订货后发现在布局上链轮的轮毂直径会有干涉。加工轮毂也没关系吗? | |||||||||||||||||||||||||||||||||||||||||||||||||||||||||||
| A10 |
由于顾客追加加工的原因,可能会发生破损等事故,所以不推荐。 |
|||||||||||||||||||||||||||||||||||||||||||||||||||||||||||
| Q11 | 产品目录中的“预留孔”是什么意思? 这是否意味着轴孔尺寸可以在产品目录中“预留孔到最大轴孔直径的范围”内制造? |
|||||||||||||||||||||||||||||||||||||||||||||||||||||||||||
| A11 |
预留孔是在制造链轮过程中必须钻出的孔,通常不会钻得像轴装配那样精确。 在预留孔径+1mm~最大轴孔径的范围内,可按照适当公差加工轴孔尺寸。 |
|||||||||||||||||||||||||||||||||||||||||||||||||||||||||||
| Q12 | 链轮轴孔最大可以加工到多大? | |||||||||||||||||||||||||||||||||||||||||||||||||||||||||||
| A12 |
标准预留孔轴孔的加工尺寸小于目录中每个型号和齿数对应的尺寸表中所列的“最大轴孔直径”。 对于没有记载最大轴孔直径的A型链轮,我们将研究制作,请与本公司商谈。 |
|||||||||||||||||||||||||||||||||||||||||||||||||||||||||||
| Q13 | 如果使用超过最大轴孔直径的孔径会怎么样?轮毂的厚度薄的话会有什么问题吗? | |||||||||||||||||||||||||||||||||||||||||||||||||||||||||||
| A13 |
轮毂厚度影响链轮强度,否则会导致开裂或损坏。 根据链条的使用条件,为了不损坏链轮,应充分考虑强度,设计轮毂直径、轴孔直径。 我们还提供TOUGH TOOTH链轮,建议RS-HT链条使用,可在不改变尺寸的情况下提高轮毂强度。 轮毂强度不足,或因空间原因无法更改轮毂尺寸时,请考虑使用。
|
|||||||||||||||||||||||||||||||||||||||||||||||||||||||||||
| Q14 | 链轮的齿和键槽加工的位置关系是怎样的?可以指定吗? | |||||||||||||||||||||||||||||||||||||||||||||||||||||||||||
| A14 |
如果没有指定,键槽加工在以下位置。
|
|||||||||||||||||||||||||||||||||||||||||||||||||||||||||||
| Q15 | 可以进行指示链轮的齿和键槽位置关系的加工吗? | |||||||||||||||||||||||||||||||||||||||||||||||||||||||||||
| A15 |
可以作为特殊规格制作。 对于“相位对准”,请指定键槽加工位置是否应与“齿顶”中心或“齿底”中心对齐。 通常,椿本的传动链用・双倍节距用将其与齿底中心对齐,大型输送链用则与齿顶对齐。 对准精度为目视程度。有具体标准的情况下,请咨询。 ※在同轴上使用多个链轮时,特别需要精度时,需要发出『并列使用』的指示。 ※并列使用:请参见“Q16.同轴使用多个链轮时,键槽的相对位置是什么?”。齿端配合
齿底配合
|
|||||||||||||||||||||||||||||||||||||||||||||||||||||||||||
| Q16 | 同轴使用多个链轮时,键槽的相对位置是什么? | |||||||||||||||||||||||||||||||||||||||||||||||||||||||||||
| A16 |
基本上不考虑。需要考虑相对键槽位置关系时,请注明『并列使用』。 那时请确认以下2点后再指示。对准精度为目视程度。
※它不同于“相位匹配”,它调整键槽和牙齿的位置关系。如果需要相位匹配,请另行说明。 ※请参见“Q15.可以进行表示链轮的齿和键槽位置关系的加工吗?”。2个1组 (轮毂同方向)
2个1组 (轮毂外-外)
2个1组 (轮毂内-内)
4个1组 (3个同方向)
|
|||||||||||||||||||||||||||||||||||||||||||||||||||||||||||
| Q17 | 配孔是什么类型的产品? | |||||||||||||||||||||||||||||||||||||||||||||||||||||||||||
| A17 |
“配孔”是指“带有完整轴孔的链轮”。 意为“Fit =相配,bore =开孔”,请从商品目录中所登载的服务范围内选择规格。敝公司进行轴孔,键槽,攻丝加工后交货,客户可立即使用。 分为“本公司指定的轴孔加工完成的库存品”、“根据客户选择的内容进行轴孔加工的订货产品”。 在 TT-net图纸库中,您可以从超过 1 亿个轴孔加工规格选项中进行选择。 除了链轮,配孔还提供同步带轮。
返回到问题
|
|||||||||||||||||||||||||||||||||||||||||||||||||||||||||||
| Q18 | 可以在链轮上装入轴承交货吗? | |||||||||||||||||||||||||||||||||||||||||||||||||||||||||||
| A18 |
根据规格和条件,有时也会拒绝,但我们会讨论是否可以制作。请咨询。
返回到问题
|
|||||||||||||||||||||||||||||||||||||||||||||||||||||||||||
| Q19 | 什么是张紧链轮? | |||||||||||||||||||||||||||||||||||||||||||||||||||||||||||
| A19 |
张紧链轮是一种利用摩擦力将链轮固定到轴上的链轮,无需使用键即可固定,其特点如下:
拧紧螺栓时,请务必使用扭矩扳手。 如果没有正确安装合适的扭矩,链轮就会打滑旋转。 轴径公差h8轴表面粗糙度以Rq3.2为基准。 其他注意事项请参考产品目录和使用说明书,并正确使用产品。
|
|||||||||||||||||||||||||||||||||||||||||||||||||||||||||||
| Q20 | 你们能生产轴径以英寸为单位的张紧链轮吗? | |||||||||||||||||||||||||||||||||||||||||||||||||||||||||||
| A20 |
张紧链轮没有英制尺寸。 椿本动力锁有英寸尺寸,因此我们建议使用动力锁。 |
|||||||||||||||||||||||||||||||||||||||||||||||||||||||||||
| Q21 | 我可以在带有键槽的轴上使用张紧链轮吗? | |||||||||||||||||||||||||||||||||||||||||||||||||||||||||||
| A21 |
只要是带有一般键槽形状的轴就可以使用。 但是,允许传递扭矩会减少约10%,敬请注意。 这是由于止动套筒与轴的接触面积因键槽而减少了。 同样地,当使用椿本动力锁时,允许的传动扭矩将会降低。 |
|||||||||||||||||||||||||||||||||||||||||||||||||||||||||||
| Q22 | 使用动力锁将链轮固定到带有键槽的轴上是否可行? | |||||||||||||||||||||||||||||||||||||||||||||||||||||||||||
| A22 |
如果是采用一般键槽形状的轴,可以使用EL系列以外的系列。 但是,允许传递扭矩会减少约10%,敬请注意。 这是因为键槽的尺寸减小了动力锁与轴之间的接触面积。 同样,当使用张紧链轮时,允许的传动扭矩也会降低。 |
|||||||||||||||||||||||||||||||||||||||||||||||||||||||||||
| Q23 | 我正在考虑使用张紧链轮。是否可以对张紧链轮进行表面处理? | |||||||||||||||||||||||||||||||||||||||||||||||||||||||||||
| A23 |
根据表面处理的内容而定,可按报价品、订单生产。
返回到问题
|
|||||||||||||||||||||||||||||||||||||||||||||||||||||||||||
| Q24 | 你有不锈钢张紧链轮吗? | |||||||||||||||||||||||||||||||||||||||||||||||||||||||||||
| A24 |
张紧链轮不提供不锈钢材质产品。 如果您需要不锈钢摩擦锁紧型链轮,我们建议将椿本 RS 链轮(不锈钢规格)与椿本动力锁(不锈钢规格)结合使用。 |
|||||||||||||||||||||||||||||||||||||||||||||||||||||||||||
| Q25 | 表面处理可以进行什么样的处理? | |||||||||||||||||||||||||||||||||||||||||||||||||||||||||||
| A25 |
表面处理是对金属表面进行热处理和化学反应,不仅是为了外观好,还为了提高耐腐蚀性、耐磨损性而实施的。 本公司实施的代表性表面处理有以下3种。(※根据尺寸有限制,需要时请咨询)
此外,推荐RS-HT链条使用的“ TOUGH TOOTH ”链轮,也经过处理,表面硬度达到 HV800 或更高。 基本上,电镀不处理轴孔内径。
|
|||||||||||||||||||||||||||||||||||||||||||||||||||||||||||
| Q26 | 我想对链轮进行电镀处理,应该注意的地方是什么? | |||||||||||||||||||||||||||||||||||||||||||||||||||||||||||
| A26 |
可能会造成强度下降等原因,因此不建议购买后由客户对产品进行表面处理。
返回到问题
|
|||||||||||||||||||||||||||||||||||||||||||||||||||||||||||
| Q27 | 我应该为椿本的免加油Lambda链条选择哪种链轮? | |||||||||||||||||||||||||||||||||||||||||||||||||||||||||||
| A27 |
选择双排或双排以上时,请注意链条的横向节距尺寸。
|
|||||||||||||||||||||||||||||||||||||||||||||||||||||||||||
| Q28 | 是否可以制造带安全销链轮? | |||||||||||||||||||||||||||||||||||||||||||||||||||||||||||
| A28 |
本公司难以决定尺寸和断裂强度的规格。如果不能提供详细条件,很抱歉,因为品质保证方面的问题,我们会拒绝。 |
|||||||||||||||||||||||||||||||||||||||||||||||||||||||||||
| Q29 | 链轮符合RoHS指令吗? | |||||||||||||||||||||||||||||||||||||||||||||||||||||||||||
| A29 |
本公司链轮全部符合RoHS指令。需要证明书的情况下,请通过购买该商品的销售店委托发行。 ※RoHS指令可能会被修改。 |
|||||||||||||||||||||||||||||||||||||||||||||||||||||||||||
| Q30 | 可否根据提供的链轮照片特定规格? | |||||||||||||||||||||||||||||||||||||||||||||||||||||||||||
| A30 |
仅凭外观无法确定,所以无法通过照片确定规格。 抱歉,但敝公司无法对应。 |
|||||||||||||||||||||||||||||||||||||||||||||||||||||||||||
| Q31 | 可否按照提供的链轮实物,制作相同的链轮? | |||||||||||||||||||||||||||||||||||||||||||||||||||||||||||
| A31 |
我们可以通过报价请求帮助您确定规格。 但是,即使确认了现货,也有不能确定规格的情况。 另外,即使回复了报价,也不承担关于规格的责任,敬请谅解。 如果是使用品的话,因为没有固定新品的形状,所以很难确定详细的尺寸规格,如果疼痛剧烈的话,有时甚至无法确定大致的规格。 材料方面也有无法确定的情况。 规格的最终决定请参考本公司的见解由客户决定。 |
|||||||||||||||||||||||||||||||||||||||||||||||||||||||||||
| Q32 | 请告诉我链轮保管中要注意的事情。 | |||||||||||||||||||||||||||||||||||||||||||||||||||||||||||
| A32 |
请勿在灰尘、灰尘、直接接触雨水的地方、高温、冻结、腐蚀环境下存放。 为了防止生锈,请用刷子涂油。 特别是无涂层的产品,或即使有涂层但轴孔未实施涂层处理的地方需额外注意。 |
|||||||||||||||||||||||||||||||||||||||||||||||||||||||||||
| Q33 | 润滑脂作为链轮驱动润滑有效果吗? | |||||||||||||||||||||||||||||||||||||||||||||||||||||||||||
| A33 |
链轮与链条的啮合部在低速、高负荷时涂润滑脂可能有效。 但是,在灰尘较多的地方,可能会吸附灰尘并使其粘在一起,加速磨损。 另外,为了抑制链条的磨损伸长,向销和轴套之间加油很重要。 为了防止加到链条中的油因外界因素 (风雨等) 而流出,有时也会涂上润滑脂,但相反,如果润滑脂妨碍向链条销与轴套之间供油,则可能会降低供油效果,请充分考虑。 |
|||||||||||||||||||||||||||||||||||||||||||||||||||||||||||
| Q34 | 链子磨损了,打算换新的。链轮的外观很漂亮,所以我想知道能不能直接使用。 | |||||||||||||||||||||||||||||||||||||||||||||||||||||||||||
| A34 |
外观的漂亮程度无法判断链轮的磨损。 就像链条一样,链轮也会磨损,因此请在做出决定之前,按照产品目录或使用使用说明书中描述的检查方法,检查是否存在磨损等异常情况。 |
|||||||||||||||||||||||||||||||||||||||||||||||||||||||||||
| Q35 | 感觉链轮齿面的磨损很快。能想到什么原因吗? | |||||||||||||||||||||||||||||||||||||||||||||||||||||||||||
| A35 |
请参考下表了解链轮齿面(齿底和齿压面)磨损的可能原因和治疗方法。
|
|||||||||||||||||||||||||||||||||||||||||||||||||||||||||||
| Q36 | 链轮齿的侧面磨损了。能想到什么原因呢? | |||||||||||||||||||||||||||||||||||||||||||||||||||||||||||
| A36 |
下表总结了预想的原因和治疗方法。 另外,也可以考虑链节板内侧的磨损。链条也请一起检查。
|
|||||||||||||||||||||||||||||||||||||||||||||||||||||||||||
| Q37 | 有时链条会移动至链轮之上。是什么原因? | |||||||||||||||||||||||||||||||||||||||||||||||||||||||||||
| A37 |
可能原因与处置方法总结于下表。 放置不管的话会导致链板过激的破坏 (图2),所以请务必检查并采取对策。
|
|||||||||||||||||||||||||||||||||||||||||||||||||||||||||||
| Q38 | 什么是更换提醒标识? | |||||||||||||||||||||||||||||||||||||||||||||||||||||||||||
| A38 |
チェッカーズアイは 取替お知らせマークです。 在齿部的磨损临界点上做了标记,磨损到那个标记上的话,就判断为使用界限的寿命。 具有以下优点。
一眼就能确认更换时间,可大幅减少检查时间和工时。 即使没有技能,任何人都可以准确地判断寿命。 从触手检查到目视检查。以最低限度的接触提高检查的安全性。 它安装在大型输送链的智能简易更换系列链轮和传动链的大型 RS 链轮上,但也可根据要求安装在其他链轮上。 常规检查
测量磨损区域和齿形规之间的间隙 更换提醒标识检查 一眼就能判断链轮的更换时机。
|
|||||||||||||||||||||||||||||||||||||||||||||||||||||||||||
| Q39 | 有检查简单的链轮吗? | |||||||||||||||||||||||||||||||||||||||||||||||||||||||||||
| A39 |
我们提供带有更换提醒标识(更换指示标记)的链轮,让您一眼就能知道何时需要更换它们。 简易更换系列链轮(分体式、环状更换齿式、块状更换齿式)的标准配置,这些链轮需要频繁更换。 带有更换提醒标识标准链轮被确认为涂有“椿本蓝”色。 除了配备大型传动链外,还可根据要求安装其他输送机链轮。 *更换提醒标识:参见“Q38. 什么是更换提醒标识?”更换提醒标识检查 一眼就能判断链轮的更换时机。
每180°放置2个
|
|||||||||||||||||||||||||||||||||||||||||||||||||||||||||||
| Q40 | 购入链轮时如何下订单? 交货期是多久? | |||||||||||||||||||||||||||||||||||||||||||||||||||||||||||
| A40 |
本公司不进行直接销售,请向有业务往来的代理店、销售店咨询。 请您就交货期与我们联系。 |
|||||||||||||||||||||||||||||||||||||||||||||||||||||||||||
| Q41 | 传动链的齿形标准是什么? | |||||||||||||||||||||||||||||||||||||||||||||||||||||||||||
| A41 |
椿本RS链轮的齿形采用了JIS规格的S齿形。(一部分也并用了JIS规格的U齿形。) 其他选项包括 BS 齿形和用于重负荷链条和销齿轮的特殊齿形。 |
|||||||||||||||||||||||||||||||||||||||||||||||||||||||||||
| Q42 | 链轮选型时需要计算轮齿的强度吗? | |||||||||||||||||||||||||||||||||||||||||||||||||||||||||||
| A42 |
一般情况下,轮齿强度如果小于最大容许张力,轮齿不会弯曲或折断。请从商品目录中选择。 但是,需要考虑强力型链条,请同时确认专用链轮。 计算上由于卷绕传动中各齿的张力分布很复杂,所以以1齿计算,但实际上卷绕传动中,由于是由几齿分担链条张力,所以链条的张力不会只由1齿承受。 牙齿负荷分担
|
|||||||||||||||||||||||||||||||||||||||||||||||||||||||||||
| Q43 | 传动链何时需要进行“齿顶硬化处理”? 判断目录中的产品是否“具有硬化齿顶”或“不具有硬化齿顶”的理由是什么? |
|||||||||||||||||||||||||||||||||||||||||||||||||||||||||||
| A43 |
对于传动链对满足以下使用条件的链轮进行齿顶硬化处理。
返回到问题
|
|||||||||||||||||||||||||||||||||||||||||||||||||||||||||||
| Q44 | 链轮的寿命哪个厂家都一样吗? | |||||||||||||||||||||||||||||||||||||||||||||||||||||||||||
| A44 |
这取决于制造商。齿轮的寿命主要取决于齿的磨损,但我们公司采用一种名为“齿顶硬化处理”的工艺,着重提高耐磨性。 这是标准的高频淬火,但与其他公司相比,更深更均匀的热处理使得长时间使用后牙齿磨损更少。 “硬化处理”是椿本产品的优势。请考虑一下在耐磨性方面具有优势的椿本链轮。
齿顶硬化处理的横截面对比(齿顶变色区域为硬化层)
|
|||||||||||||||||||||||||||||||||||||||||||||||||||||||||||
| Q45 | 请告诉我链轮可以使用的温度范围。 | |||||||||||||||||||||||||||||||||||||||||||||||||||||||||||
| A45 |
RS链轮的使用温度范围为-10°C~150°C, RS链轮不锈钢规格的使用温度范围为-20°C~400°C。 不仅要考虑温度引起的强度变化,还要考虑链条润滑的局限性。 |
|||||||||||||||||||||||||||||||||||||||||||||||||||||||||||
| Q46 | 在低温(低于-10°C)环境下使用耐寒传动链时,我可以使用普通的标准RS链轮吗? | |||||||||||||||||||||||||||||||||||||||||||||||||||||||||||
| A46 |
商品目录中记载的标准链轮使用机械构造用碳素钢或轧钢,在-10°C以下的低温下使用时,会发生强度降低,因此不推荐使用。 有时也可以通过变更为接单产品材质的特殊链轮等提出对策。 如果产品的使用温度范围在产品目录中未列出,请与我们联系。 |
|||||||||||||||||||||||||||||||||||||||||||||||||||||||||||
| Q47 | 我可以使用标准的RS链轮搭配强力传动链吗? | |||||||||||||||||||||||||||||||||||||||||||||||||||||||||||
| A47 |
可以使用带硬化齿顶的标准链轮,但在很多情况下,关键表面压力不足。 我们推荐使用“ TOUGH TOOTH ”作为强力传动链链轮,请您考虑一下。 链条越强力,关键表面压力等的检查就越重要。 虽然可以通过使用双键或加长轮毂来增加表面压力,但从节省空间和价格的角度来看,我们推荐使用轮毂更坚固的“ TOUGH TOOTH”。 此外,当使用多排H 级链条(如 HT RS-HT链条或超级H链条时,齿的横向节距不同,不能使用标准的 RS 链轮。 |
|||||||||||||||||||||||||||||||||||||||||||||||||||||||||||
| Q48 | BS规格链可以使用标准RS链轮吗? | |||||||||||||||||||||||||||||||||||||||||||||||||||||||||||
| A48 |
与JIS规格品的RS链轮基本3尺寸 (节距、滚子直径、滚子链节内宽) 不同,因此不能使用。 对于符合 BS 标准的链条,我们提供符合BS/DIN规格专用链轮。 |
|||||||||||||||||||||||||||||||||||||||||||||||||||||||||||
| Q49 | 销齿可以使用标准RS链轮吗? | |||||||||||||||||||||||||||||||||||||||||||||||||||||||||||
| A49 |
需要特殊齿形的专用链轮。 由于与链条的啮合与缠绕传动不同,因此无法使用标准RS链轮。 要使物体沿直线或旋转方向运动,通常使用滚子链和齿轮,通过减速机从驱动源(例如电机)传递动力。 使用滚子链的卷绕传动面临空间大、齿轮需要精密加工、成本高等问题。 在这种情况下,销齿轮驱动是最好的。 如图 1 所示,销齿轮传动使用链条,链条上带有销齿轮附件,缠绕在滚筒或工作台的外周上,而不是使用齿轮;并且使用具有特殊齿形的链轮(销齿轮链轮)而不是小齿轮。 对于直线运动,如图 2 所示,用销附件链条代替齿条沿直线安装。 提供销齿传动组件,包括销齿,齿轮与销齿条。
[图1]
[图2] |
|||||||||||||||||||||||||||||||||||||||||||||||||||||||||||
| Q50 | 可以制作链条张紧器吗? | |||||||||||||||||||||||||||||||||||||||||||||||||||||||||||
| A50 |
本公司标准化准备了张紧器和惰轮。请根据本公司的规格进行探讨。 |
|||||||||||||||||||||||||||||||||||||||||||||||||||||||||||
| Q51 | 链轮转动不均的原因和对策是什么? | |||||||||||||||||||||||||||||||||||||||||||||||||||||||||||
| A51 |
旋转不均的原因之一是链条的速度变动。链条相对于链轮呈多角形啮合。 因此,如下图所示,在圆的切线位置啮合时和在弦的位置啮合时,啮合的高度 (与链轮中心的半径) 不同。 因此,即使驱动链轮匀速旋转,链的行进速度也会以半径比变化。其速度变动率通过下式计算。 变化率= (V2-V1) /V2=1-cos (180°/Z) (Z表示齿数) 齿数越多,旋转越顺滑,传动越顺畅。敝公司一般推荐齿数在15以上。 V2链最大速度 V1链速度最小
<回转不均> 由于链条的速度变化和链轮的性质,从动链轮会产生旋转不均。 另外,还会受到链轮偏心安装误差、链条及链轮制作误差的影响。 驱动链轮齿数越大 (直径越大),传动越平稳,旋转不均匀性越小。 |
|||||||||||||||||||||||||||||||||||||||||||||||||||||||||||
| Q52 | 传动链在震动。会不会是链轮的问题?有什么办法可以解决吗? | |||||||||||||||||||||||||||||||||||||||||||||||||||||||||||
| A52 |
链轮也可能是原因。原因和对策如下。 多边形运动 当涉及弦状运动 (链轮和链多角形运动的上下运动) 时,可以通过选择尽可能大的齿数来抑制多角形运动。一般推荐齿数在15颗以上。 ※弦状运动:请参见“Q51.链轮转动不均的原因和对策是什么?”。 |
|||||||||||||||||||||||||||||||||||||||||||||||||||||||||||
| Q53 | 传动链用RS链轮的适当的速度比与包角是多少? | |||||||||||||||||||||||||||||||||||||||||||||||||||||||||||
| A53 |
滚子链条传动的速比一般以7:1为宜。只有在极低速的情况下,可以达到10:1左右。
|
|||||||||||||||||||||||||||||||||||||||||||||||||||||||||||
| Q54 | 用于传动链RS链轮的合适链轮中心距是多少? | |||||||||||||||||||||||||||||||||||||||||||||||||||||||||||
| A54 |
最短距离只要两个链轮的牙齿不接触就可以。理想情况下,两个轴的中心距离应为所用滚子链间距的30~50倍。但是,施加变动负荷时,以20倍以下为宜。 滚子链节距的30~50倍
|
|||||||||||||||||||||||||||||||||||||||||||||||||||||||||||
| Q55 | RS链轮用于传动链的布局有什么规则吗? | |||||||||||||||||||||||||||||||||||||||||||||||||||||||||||
| A55 |
一般滚子链条传动配置如下。
|
|||||||||||||||||||||||||||||||||||||||||||||||||||||||||||
| Q56 | 使用 RS 链轮作为传动链时,是否有任何布局或位置需要特别注意? | |||||||||||||||||||||||||||||||||||||||||||||||||||||||||||
| A56 |
在以下情况下,请注意布局和安排。请使用惰轮张紧器。
图1) 中心距离短时的布局
图2) 中心距离较长时的布局
图3) 垂直传动 |
|||||||||||||||||||||||||||||||||||||||||||||||||||||||||||
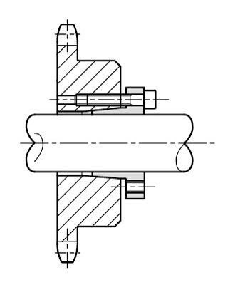
| Q57 | RS链轮用于传动链的安装精度和安装步骤是什么? | |||||||||||||||||||||||||||||||||||||||||||||||||||||||||||
| A57 |
安装时请注意水平度、平行度,按照以下要领正确进行。
图1) 轴的水平度
图2) 轴的平行度
图3) 链轮的错位 |
|||||||||||||||||||||||||||||||||||||||||||||||||||||||||||
| Q58 | 传动链用RS链轮的使用寿命如何?点检的要点是什么? | |||||||||||||||||||||||||||||||||||||||||||||||||||||||||||
| A58 |
寿命和更换的标准是确认牙齿的磨损。链轮会因牙齿磨损而降低强度,给链条传动带来不良影响。 请在定期检查出现问题之前更换新的链轮。确认要点如下。
为了减少检查工时并提高安全性,我们可以制造带有更换提醒标识链轮,以指示何时需要更换它们。 齿厚的使用界限·B尺寸表
|
|||||||||||||||||||||||||||||||||||||||||||||||||||||||||||
| Q59 | RS链轮用于传动链时安装不当会出现哪些症状?我应该检查哪些方面? | |||||||||||||||||||||||||||||||||||||||||||||||||||||||||||
| A59 |
【症状】 出现以下症状时,请再次确认链轮及其安装。
【检查要点】 从链轮的咬合检查可以判断原因。 不正常时请再次检查、修正。
异常的原因是链轮安装不良或滚子链扭曲等。 发现异常时,直接使用链轮会对滚子链传动产生不良影响,请更换新的链轮。 |
|||||||||||||||||||||||||||||||||||||||||||||||||||||||||||
| Q60 | 传动链用RS链轮是否可以用于双倍节S滚子? | |||||||||||||||||||||||||||||||||||||||||||||||||||||||||||
| A60 |
双倍节距S 滚轮不能与齿数为 29 或更少的 RS 链轮一起使用;必须使用双倍节距链轮。 用于传动链。(这是因为节距圆直径(PCD)是30齿或以上链轮的近似值。) 另外,由于横节距不同,多列RF2060以上的尺寸不可使用。由于这些链条属于特型品,可根据链条图纸制作对应的特型链轮。 |
|||||||||||||||||||||||||||||||||||||||||||||||||||||||||||
| Q61 | RS型传动链链轮能否用于小型输送链? | |||||||||||||||||||||||||||||||||||||||||||||||||||||||||||
| A61 |
RS型传动链链轮可与RS型小型输送机附件链配合使用。 但是请注意,如果链轮直径较小或附件特殊,则需要考虑链轮干涉问题。 对于双节双倍节距,请使用双倍节距链轮。 但是,如果使用双倍节距S 滚子,并且齿数为 30 或以上,则可以使用 RS 链轮。 |
|||||||||||||||||||||||||||||||||||||||||||||||||||||||||||
| Q62 | 为什么专为双倍节距(S 型滚子)设计的双倍节距链轮建议使用奇数齿? | |||||||||||||||||||||||||||||||||||||||||||||||||||||||||||
| A62 |
对于 S 型滚子,建议使用奇数实际齿数,因为这样可以提高耐磨寿命。 在双倍节距链轮中,实际啮合的齿数称为有效齿数,而可见的齿数称为实际齿数。链条是S滚子型的情况下,链条以1齿跳跃啮合。(图1) 当S型滚子的实际齿数为奇数时(见图3),滚子在第一圈旋转时会与1到10号齿啮合,隔一个齿啮合一次;但从第二圈开始,它们会与11号齿啮合,与前一圈不同的齿。由于滚子在链轮每圈旋转时都与不同的齿啮合,因此磨损更小,滚子的使用寿命更长。 对于 R 型滚子,每个齿都会啮合(图 2)。 返回到问题 |
|||||||||||||||||||||||||||||||||||||||||||||||||||||||||||
| Q63 | 我使用的是空心销双倍节距。我可以使用哪种链轮? | |||||||||||||||||||||||||||||||||||||||||||||||||||||||||||
| A63 |
与标准 RF 双倍节距一样,当齿数为 30 或以上时,可以使用 RS 链轮作为传动链。 它不能与 29 齿或更少的链轮一起使用,因此需要双倍节距链轮。 由于横节距不同,多列RF2060以上的尺寸不可使用。由于这些链条属于特型品,可根据链条图纸制作对应的特型链轮。 |
|||||||||||||||||||||||||||||||||||||||||||||||||||||||||||
| Q64 | 小型输送链的安装精度和安装步骤是什么? | |||||||||||||||||||||||||||||||||||||||||||||||||||||||||||
| A64 |
安装时请注意水平度、平行度,按照以下要领正确进行。
|
|||||||||||||||||||||||||||||||||||||||||||||||||||||||||||
| Q65 | 小型输送链用双倍节距链轮的使用寿命何时终止?需要重点检查哪些方面? | |||||||||||||||||||||||||||||||||||||||||||||||||||||||||||
| A65 |
图2链轮齿磨损
图3链轮齿磨损 (侧面) |
|||||||||||||||||||||||||||||||||||||||||||||||||||||||||||
| Q66 | 大型输送链用链轮至少需要多少个齿? | |||||||||||||||||||||||||||||||||||||||||||||||||||||||||||
| A66 |
考虑到链条的悬挂,需要6颗以上的齿数。 |
|||||||||||||||||||||||||||||||||||||||||||||||||||||||||||
| Q67 | 关于大型输送链用链轮,是否可以制造没有轮毂的A型链轮? | |||||||||||||||||||||||||||||||||||||||||||||||||||||||||||
| A67 |
可以,但是因为是接受订货的产品,所以请报价。 以焊接为前提的情况下,根据材料不同,有时会导致不良。 |
|||||||||||||||||||||||||||||||||||||||||||||||||||||||||||
| Q68 | 大型输送链用链轮有挂孔吗? | |||||||||||||||||||||||||||||||||||||||||||||||||||||||||||
| A68 |
有吊孔设定的可以在商品目录上确认。 设定有吊孔的产品,除链轮本体尺寸表外,还在吊孔尺寸一览表中标明了吊孔尺寸和吊孔数量。 没有登载的型号、齿数的链轮没有悬挂用的孔。 您要求的时候,我们会在制作讨论的基础上进行估价,所以请您告诉我具体的位置和大小、数量。 |
|||||||||||||||||||||||||||||||||||||||||||||||||||||||||||
| Q69 | 大型输送链用链轮的安装精度和安装步骤是什么? | |||||||||||||||||||||||||||||||||||||||||||||||||||||||||||
| A69 |
安装时请注意水平度、平行度,按照以下要领正确进行。
※从传送链本身来看,安装精度是一般值。如果输送机本身的精度有限制,请以此为准。 |
|||||||||||||||||||||||||||||||||||||||||||||||||||||||||||
| Q70 | 大型输送链用链轮何时达到使用寿命终点?需要重点检查哪些方面? | |||||||||||||||||||||||||||||||||||||||||||||||||||||||||||
| A70 |
链轮齿面的磨损极限请以图1为基准。根据尺寸等,寿命为3~6mm。 如果链条与磨损的链轮啮合,会造成链条过早磨损等不良后果。如果链轮齿磨损,请更换链轮。 链轮的牙齿侧面磨损时,请参照表1针对原因进行处理。 我们可以生产带有更换提醒标识链轮,指示器会在链轮需要更换时发出指示,从而减少检查时间并提高安全性。
|
|||||||||||||||||||||||||||||||||||||||||||||||||||||||||||











