技术资料直线作动机电动高速丝杆允许悬伸载荷
容许过载
在输入轴上安装链轮、齿轮、传动带等时,请通过下式确认作用于轴的悬载是否在容许悬载以下。
容许O.H.L.≥ T×f×Lf R
O.H.L.:过载N
T:输入扭矩N・m
f:传动元件系数
Lf:负荷作用位置的系数
R:链轮、齿轮、V滑轮等的节距圆半径,单位为米。
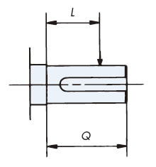
L:负荷的作用位置
Q:轴的长度
表2传动要素系数 (f)
| 链条 | 1.00 |
|---|---|
| 齿轮带 | 1.25 |
| V带 | 1.50 |
| 平带 | 2.50 |
表1输入轴容许悬载
| SJ015H | SJ030H | SJ050H | |
|---|---|---|---|
| 容许O.H.L. (N) |
830 | 1280 | 1760 |
表3负荷作用位置的系数 (Lf)
| L/Q | 0.5以下 | 0.75 | 1 |
|---|---|---|---|
| Lf | 1 | 1.5 | 2 |
