技术资料机械式保护机器
TGX扭矩过载保护装置有售
1.设置行程扭矩
- (1)所有扭矩过载保护装置TGX 产品在发货时均设置为最小扭矩值。请确保扭矩指示器显示为零。
(请参阅使用使用说明书。) - (2)请从拧紧量-扭矩相关图 (下表) 中,读取并拧紧相当于预先确定的跳转扭矩的调节螺母 (螺栓) 的拧紧角度。扭矩刻度的刻度为60°。最初,请将装置设置在从相关图读取的紧固值的60°左右前,安装到机器上,进行跳闸测试,依次增加放弃,设定为最佳的跳闸扭矩。产品的跳转扭矩与下表的拧紧量-扭矩相关图不一定一致,请作为参考使用。
- (3)扭矩设定完成后,请将锁定螺钉拧入调节螺母,防止松动。
- (4)请勿将调节螺母 (螺栓) 旋转到扭矩刻度的最大值以上。跳闸时盘簧失去挠曲余地,变为锁定状态。有关锁定螺钉的拧紧扭矩和注意事项,请参照此处。
拧紧量-扭矩相关图
2.定心方法
- (1)定心方法I
- a.将法兰与轮毂和中心法兰分离。
- b.移动。测量I尺寸。(表1)
- c.在轴上固定千分表,在轮毂的侧面和外周测量跳动。
- (2)定心方法II
- a.分离法兰和中心法兰。
- b.轴上固定千分表,在轮毂的侧面和外周测量跳动。
- c.移动轮毂。测量I尺寸。(表1)
| 注意: | 请务必按照表1的I尺寸安装。有不能在无背隙状态下使用的情况。 |
表1
| 型号 | I尺寸mm |
|---|---|
| TGX10-C | 2 |
| TGX20-C | 3 |
| TGX35-C | 3 |
| TGX50-C | 4 |
| TGX70-C | 4 |
容许不对中量
| 型号 | 容许不对中 | ||
|---|---|---|---|
| 偏角 deg. | 偏心mm | 终端播放mm | |
| TGX10-C | 0.6 | 0.1 | ±0.5 |
| TGX20-C | 0.6 | 0.1 | ±0.5 |
| TGX35-C | 0.6 | 0.1 | ±0.5 |
| TGX50-C | 0.6 | 0.1 | ±0.6 |
| TGX70-C | 0.6 | 0.1 | ±0.7 |
参考角度误差θ = 轮毂侧跳动值(每 0.1°)
| 型号 | 外径mm | 轮毂振动值mm |
|---|---|---|
| TGX10-C | Φ53 | 0.092 |
| TGX20-C | Φ75 | 0.131 |
| TGX35-C | Φ98 | 0.171 |
| TGX50-C | Φ138 | 0.241 |
| TGX70-C | Φ177 | 0.309 |
*请尽量减少安装角度误差。
3.轴孔加工
加工扭矩过载保护装置TGX 和联轴器Type TGX-C 的轴孔时,请参考拆卸、加工和组装使用说明书。
| 型号 | 尺寸 | |||||
|---|---|---|---|---|---|---|
| A×螺纹直径 | B×螺纹直径 | C×螺纹直径 | a mm | b mm | c mm | |
| TGX10 | 21×M4以下 | - | - | 30 | - | - |
| TGX20 | 20.5×M5以下 | - | - | 40 | - | - |
| TGX35 | 20.5×M6 | - | - | 55 | - | - |
| TGX50 | 24.5×M6 | - | - | 80 | - | - |
| TGX70 | 25×M6 | - | - | 100 | - | - |
| TGX10-C | - | 8×M4以下 | 21×M4以下 | - | 33 | 30 |
| TGX20-C | - | 12×M8以下 | 20.5×M5 | - | 55 | 40 |
| TGX35-C | - | 11×M10以下 | 20.5×M6 | - | 70 | 55 |
| TGX50-C | - | 13×M10以下 | 24.5×M6 | - | 92 | 80 |
| TGX70-C | - | 15×M10以下 | 25×M6 | - | 116 | 100 |
扭矩过载保护装置
联轴器类型
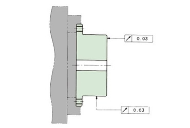
加工前,将轮毂端面夹紧并按下图所示居中。
请固定法兰外径,如下图所示进行对中加工。
