技术资料小型输送链选择
如果您想查看选择程序和注意事项,请转到以下步骤。
如果您希望缩小产品系列范围或进行初步选择,
单击此处。
如果您已经决定了使用条件并希望进行详细的选择,
单击此处。
小型输送链选择程序
根据输送机的种类和容量,选择适当的链条尺寸和形式。根据输送机的使用条件会有各种情况,有时也不能一概而论,但一般按以下步骤进行。
1.确认交货条件

2.连锁品种的暂定

3. 检查滚筒和附件的允许载荷。

4.计算作用在链上的最大张力

5.确定链大小

6.间歇运转时的链条选择法
步骤1.确认交货条件
- 1.输送机类型(板条输送机、斗式输送机等)
- 2.运输方向(水平、倾斜、垂直运输)
- 3.搬运物的类型、质量和尺寸
- 4.交货数量、交货间隔
- 5.输送机速度
- 6.输送机长度
- 7.有无润滑
- 8.运输环境(温度、腐蚀因素)
步骤2.链条品种的临时决定
查找作用在链上的最大静态张力 (F) 。
SI单位F (kN) =W×f 1 ×K V × G 1000
重力单位F{kgf}=W×f 1 ×K V
W = 传送带上搬运物总质量 {重量} kg {kgf}
f 1 =摩擦系数 (表3) K V =速度系数 (表4)
G = 9.80665m/s2
F(或当链平行时为 F × 0.6)或更多最大容许张力有
链条的类型和尺寸将暂定确定。
小型输送链(不包括不锈钢链和工程塑料链)的最大容许张力设定为疲劳极限。
如果负载低于此值,即使反复施加负载,小型输送链也不会断裂。
*不锈钢和工程塑料。最大容许张力是根据销和衬套之间的表面压力确定的,同时考虑耐磨性能。
步骤3.确认允许负荷
负载式输送机中作用在滚筒或附件上的负载应小于表 1 和表 2 中的值。
表1本体滚子的容许负荷
| 尺寸 | 双倍节距 RS型带附件(标准规格) Lambda/长寿命 Lambda |
不锈钢滚子 (SS, AS) |
塑料滚子 | 塑料滚子 KV规格 |
低噪音 塑料滚子 |
塑料组合链条 | |||
|---|---|---|---|---|---|---|---|---|---|
| R滚子 | S滚子 | R滚子 | S滚子 | R滚子 | S滚子 | R滚子 | R滚子 | ||
| RS25 | - | - | - | - | - | - | - | - | 0.005 {0.5} |
| RS35 | - | - | - | - | - | - | - | - | 0.015 {1.5} |
| RF2040・RS40 | 0.64 {65} | 0.15 {15} | 0.20 {20} | 0.05 {5} | 0.20 {20} | 0.02 {2} | 0.20 {20} | 0.14 {14} | 0.02 {2.0} |
| RF2050・RS50 | 0.98 {100} | 0.20 {20} | 0.29 {30} | 0.06 {6} | 0.29 {30} | 0.03 {3} | 0.29 {30} | 0.21 {21} | 0.04 {4.0} |
| RF2060・RS60 | 1.57 {160} | 0.29 {30} | 0.49 {50} | 0.09 {9} | 0.49 {50} | 0.05 {5} | 0.49 {50} | 0.34 {35} | 0.06 {6.0} |
| RF2080・RS80 | 2.65 {270} | 0.54 {55} | 0.78 {80} | 0.15 {15} | 0.88 {90} | 0.09 {9} | - | 0.62 {63} | - |
| RF2100・RS100 | 3.92 {400} | 0.78 {80} | 1.18 {120} | 0.25 {25} | 1.27 {130} | - | - | - | - |
| RF2120・RS120 | 5.88 {600} | 1.18 {120} | 1.77 {180} | 0.34 {35} | - | - | - | - | - |
| RS140 | - | 1.32 {135} | - | 0.39 {40} | - | - | - | - | - |
| RF2160・RS160 | 9.61 {980} | 1.91 {195} | 2.75 {280} | 0.54 {55} | - | - | - | - | - |
| 带BS附件 | |
|---|---|
| 尺寸 | 标准规格 |
| RF06B | 0.073 {7} |
| RS08B | 0.15 {15} |
| RS10B | 0.2 {20} |
| RS12B | 0.29 {30} |
| RS16B | 0.54 {55} |
| RS20B | 0.79 {81} |
| RS24B | 1.37 {140} |
本体滚子的容许负荷
注)
- 1. 数值为润滑后的值。带附件的双倍节距和 RS 型链条包括耐环境链条(NP 和NEP规格)。
- 2. 对于塑料组合链条,每件允许的载荷是内链节的下侧支撑时。
- 3. 对于标准规格R 型滚轮的导轨材料,应采用 S45C 或更高抗拉强度的材料。
- 4. 有关滚针套筒链和滚针隔圈链的信息,请参阅产品信息页面。
表2附件A的允许载荷
这是 A 型附件能够承受的垂直载荷。
根据您安装的附件的形状和结构,附件A 上可能会产生扭转力。如果发生这种情况,请与我们联系。
| 双倍节距链 | RS型链 | ||||
|---|---|---|---|---|---|
| 尺寸 | 双倍节距注1 | 不锈钢 | 尺寸 | 附件1 | 不锈钢 |
| RF2040 | 0.262 {26.7} | 0.108 {11.0} | RS25 | 0.028 {2.9} | 0.012 {1.2} |
| RF2050 | 0.455 {46.4} | 0.189 {19.3} | RS35 | 0.094 {9.6} | 0.036 {3.7} |
| RF2060 | 1.06 {108} | 0.419 {42.7} | RS40 | 0.130 {13.3} | 0.054 {5.5} |
| RF2080 | 1.67 {170} | 0.646 {65.9} | RS50 | 0.243 {24.8} | 0.101 {10.3} |
| RF2100 | 2.51 {256} | 1.15 {117} | RS60 | 0.376 {38.3} | 0.148 {15.1} |
| RF2120 | 3.68 {375} | 1.79 {183} | RS80 | 0.591 {60.3} | 0.233 {23.8} |
| RF2160 | 5.84 {596} | 3.13 {319} | RS100 | 0.933 {95.1} | 0.361 {36.8} |
| RS120 | 1.39 {142} | 0.629 {64.1} | |||
| RS140 | 1.82 {186} | 0.869 {88.6} | |||
| RS160 | 2.36 {241} | 1.19 {121} | |||
注)
- 1. 包括耐环境污染的链条(NP/ NEP规格)。
- 2. 有关滚针套筒链和滚针隔圈链的信息,请参阅产品信息页面。
| BS附件类型链 | |
|---|---|
| 尺寸 | 标准规格 |
| RF06B | 0.09 {9} |
| RS08B | 0.2 {20} |
| RS10B | 0.13 {13} |
| RS12B | 0.21 {21} |
| RS16B | 1.18 {120} |
| RS20B | 0.97 {99} |
| RS24B | - |
- ・附件A 可承受的垂直载荷的作用点是附件安装孔的位置。
- ・K型附件威力是A型附件的两倍。
- ·请注意不要超过滚子的容许负荷。
步骤4.计算作用在链上的最大张力 (F)
目录中同时列出了SI单位和重力单位。以重力单位计算最大张力时,“重量” (kgf) 等于“质量” (kg) 。
- F=作用在链上的最大静态张力:kN{kgf}
- V=传送速度 (链速度) :m/min
- H=链轮中心距离 (垂直方向) :m
- L=链轮中心距离 (水平方向) :m
- C=链轮中心距离:m
- M=运行部的质量{重量}:链条※、铲斗、围裙等的质量{重量}:kg/m{kgf/m}
- W = 传送带上搬运物的最大总质量(重量):kg(kgf)
对于散装物品:W = C 装载间隔 ×搬运物重量 - kW=动力要求
- f 1 = 链条与导轨之间的摩擦系数(表 3)
- η=驱动部分的传动机械效率
- G =重力加速度:9.80665m/s 2
※两条链子并列使用时,链子重量为两条。
※若频繁进行正反转运转,则需要通过收紧装置将链条收紧,因此计算公式会与下述公式不同。
如果您使用收紧装置来收紧链条中的松弛部分,请使用此处问答 6 中的计算公式。
表3-1 f 1:本体链条的滚子在导轨上滚动时的摩擦系数
| 滚子 分类 |
钢辊 | Lambda 链条 |
塑料滚子注 | 低噪音 塑料滚子 |
针套 链条 |
|
|---|---|---|---|---|---|---|
| 润滑 (无) | 润滑 (有) | 润滑 (无) | 润滑 (无) | |||
| R滚子 | 0.12 | 0.08 | 0.08 | 0.08 | 0.1 | 0.21 |
| S滚子 | 0.21 | 0.14 | 0.14 | - | - | - |
注)塑料滚子包含 KV 规格。
表3-2 f 1:链板在导轨上滑动时的摩擦系数
| 钢板 | 塑料组合链条 | |
|---|---|---|
| 润滑 (无) | 润滑 (有) | |
| 0.3 | 0.2 | 0.25 |
计算公式
| SI单位 | {重力单位} |
|---|---|
|
水平交货 携带搬运物时 F = (W + 2.1 × M × C) × f1 × G 1000 kW = F × V 6120 × 1 η
F = (W + 2.1 × M × C) × f1 kW = F × V 6120 × 1 η |
|
|
垂直传送 F = (W + M × C) × G 1000 kW = W × V 60 × G 1000 × 1 η
F = W + M × C kW = W × V 6120 × 1 η |
|
|
倾斜搬运※ 携带搬运物时
F = (W + M × C) L × f1 + H C + 1.1 × M × (L × f1 - H) × G 1000 kW = V 60 F - M × (H - L × f1) G 1000 × 1 η F = (W + M × C) L × f1 + H C + 1.1 × M × (L × f1 - H) kW = V 6120 F - M × (H - L × f1) × 1 η 注)在标有星号的 F 公式中,如果 L × f1- H < 0,则 L × f1- H = 0。此外,在 kW 公式中,如果 H - L × f1 < 0,则 H - L × f1 = 0。 |
|
|
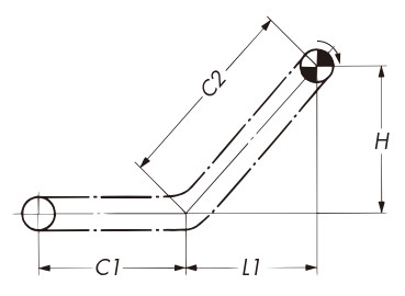
水平、倾斜搬运※ 携带搬运物时
F =
(
W
C1 + C2
+ 2.1 × M) C1 × f1+
(
W
C1 + C2
+ M) × (L1 × f1 + H)
kW = V 60 F - M × (H - L1 × f1) G 1000 × 1 η F =
(
W
C1 + C2
+ 2.1 × M) × C1 × f1+
(
W
C1 + C2
+ M) × (L1 × f1 + H)
kW = V 6120 F - M × (H - L1 × f1) × 1 η 注)在标有星号的 F 公式中,如果 L 1 × f 1- H < 0,则 L 1 × f 1- H = 0。此外,在 kW 公式中,如果 HL 1 × f 1 < 0,则 H - L 1 × f 1 = 0。 |
|
步骤5.确定链尺寸
作用在链条上的最大张力 (F) 乘以表4中的速度系数 (K V),选择满足下式的链条。
F × K V ≦最大容许张力
表4速度系数 (K V)
| 链速度m/min | 速度因子 (Kv) |
|---|---|
| 15以下 | 1.0 |
| 15~30 | 1.2 |
| 30~50 | 1.4 |
| 50~70 | 1.6 |
| 70~90 | 2.2 |
| 90~110 | 2.8 |
| 110~120 | 3.2 |
下列链的建议速度如下:。
|
30m/min以下 |
|
70m/min以下 |
表5:小型输送链强度(单位:kN{kgf})
| 尺寸 | 通用链 | Lambda链条 长寿命Lambda链条 |
|---|---|---|
| RF2040 | 2.65 {270} | 2.65 {270} |
| RF2050 | 4.31 {440} | 4.31 {440} |
| RF2060 | 6.28 {640} | 6.28 {640} |
| RF2080 | 10.7 {1090} | 10.7 {1090} |
| RF2100 | 17.1 {1740} | 17.1 {1740} |
| RF2120 | 23.9 {2440} | 23.9 {2440} |
| RF2160 | 40.9 {4170} | - |
| 尺寸 | 不锈钢双倍节距 | 涂双倍节距 | |||||
|---|---|---|---|---|---|---|---|
| SS规格 | HS规格 | AS规格 | NS规格 | LSK规格 | NP规格 | NEP规格 | |
| RF2040 | 0.69 {70} | 1.19 {121} | 0.69 {70} | 0.44 {45} | 0.44 {45} | 2.65 {270} | 2.65 {270} |
| RF2050 | 1.03 {105} | 1.85 {189} | 1.03 {105} | 0.69 {70} | 0.69 {70} | 4.31 {440} | 4.31 {440} |
| RF2060 | 1.57 {160} | 2.78 {283} | 1.57 {160} | 1.03 {105} | 1.03 {105} | 6.28 {640} | 6.28 {640} |
| RF2080 | 2.65 {270} | 4.77 {486} | 2.65 {270} | 1.77 {180} | - | 10.7 {1090} | 10.7 {1090} |
| RF2100 | 2.55 {260} | - | - | - | - | 17.1 {1740} | 17.1 {1740} |
| RF2120 | 3.82 {390} | - | - | - | - | 23.9 {2440} | - |
| RF2160 | 6.37 {650} | - | - | - | - | 40.9 {4170} | - |
| 尺寸 | 通用系列 | 低噪音系列 | 耐热规格 | |||||
|---|---|---|---|---|---|---|---|---|
| 标准规格 | NP规格 | SS规格 | SP辊 | 标准规格 | NP规格 | SS规格 | ||
| RF2040 | 0.44 {45} | 0.44 {45} | 0.44 {45} | 0.23 {23} | 0.44 {45} | 0.44 {45} | 0.44 {45} | 0.44 {45} |
| RF2050 | 0.69 {70} | 0.69 {70} | 0.69 {70} | 0.34 {34} | 0.69 {70} | 0.69 {70} | 0.69 {70} | 0.69 {70} |
| RF2060 | 1.03 {105} | 1.03 {105} | 1.03 {105} | 0.54 {55} | 1.03 {105} | 1.03 {105} | 1.03 {105} | 1.03 {105} |
| RF2080 | 1.77 {180} | 1.77 {180} | 1.77 {180} | 0.88 {89} | 1.77 {180} | 1.77 {180} | 1.77 {180} | - |
| RF2100 | 2.55 {260} | 2.55 {260} | 2.55 {260} | - | - | - | - | - |
| 尺寸 | 通用规格 | LMC规格 | NP规格 | SS规格 |
|---|---|---|---|---|
| RF2040 | 1.77 {180} | 1.47 {150} | 1.77 {180} | 0.44 {45} |
| RF2050 | 3.14 {320} | 2.55 {260} | 3.14 {320} | 0.69 {70} |
| RF2060 | 4.22 {430} | 3.43 {350} | 4.22 {430} | 1.03 {105} |
| RF2080 | 7.65 {780} | 6.18 {630} | 7.65 {780} | 1.77 {180} |
| 尺寸 | 通用规格 |
|---|---|
| RF2040 | 1.86 {190} |
| RF2050 | 2.84 {290} |
| RF2060 | 4.02 {410} |
| RF2080 | 6.96 {710} |
间歇输送链
| 尺寸 | 标准规格 | 高精度规格 | 不锈钢规格 |
|---|---|---|---|
| RF2040 | 0.78 {80} | 0.78 {80} | 0.44 {45} |
| RF2050 | 1.27 {130} | 1.27 {130} | 0.69 {70} |
| RF2060 | 1.77 {180} | 1.77 {180} | 1.03 {105} |
| RF2080 | 2.94 {300} | 2.94 {300} | 1.77 {180} |
| 尺寸 | 最大容许张力 |
|---|---|
| RF2040 | 0.45 {45} |
| RF2050 | 0.69 {70} |
| RF2060 | 1.03 {105} |
| RF2080 | 1.77 {180} |
| 尺寸 | 最大容许张力 |
|---|---|
| BCM12.5-9 | 0.3 {30} |
| BCM15-9 | 0.3 {30} |
| 尺寸 | 最大容许张力 |
|---|---|
| BC050 | 0.49 {50} |
| BC075 | 0.69 {70} |
| BC100 | 0.69 {70} |
| BC150 | 1.27 {130} |
| 尺寸 | 通用链 | Lambda链条 | 长寿命Lambda链条 |
|---|---|---|---|
| RS25 | 0.64 {65} | - | - |
| RS35 | 1.52 {155} | 1.52 {155} | - |
| RS40 | 2.65 {270} | 2.65 {270} | 2.65 {270} |
| RS50 | 4.31 {440} | 4.31 {440} | 4.31 {440} |
| RS60 | 6.28 {640} | 6.28 {640} | 6.28 {640} |
| RS80 | 10.7 {1090} | 10.7 {1090} | 10.7 {1090} |
| RS100 | 17.1 {1740} | 17.1 {1740} | 17.1 {1740} |
| RS120 | 23.9 {2440} | 23.9 {2440} | - |
| RS140 | 32.4 {3300} | 32.4 {3300} | - |
| RS160 | 40.9 {4170} | - | - |
| 尺寸 | 带附件RS型链 | 涂层带附件RS型链 | 塑料组合链条 | 塑料滚子 链 |
|||||
|---|---|---|---|---|---|---|---|---|---|
| SS规格 | HS规格 | AS规格 | NS规格 | LSK规格 (不锈钢滚子) |
NP规格 | NEP规格 | SP辊 | ||
| RS25 | 0.12 {12} | - | - | 0.12 {12} | - | 0.64 {65} | - | 0.08 {8} | - |
| RS35 | 0.26 {27} | - | - | 0.26 {27} | - | 1.52 {155} | - | 0.18 {18} | - |
| RS40 | 0.69 {70} | 1.19 {121} | 0.69 {70} | 0.44 {45} | 0.44 {045} | 2.65 {270} | 2.65 {270} | 0.44 {45} | 0.23 {23} |
| RS50 | 1.03 {105} | 1.85 {189} | 1.03 {105} | 0.69 {70} | 0.69 {070} | 4.31 {440} | 4.31 {440} | 0.69 {70} | 0.34 {34} |
| RS60 | 1.57 {160} | 2.78 {283} | 1.57 {160} | 1.03 {105} | 1.03 {105} | 6.28 {640} | 6.28 {640} | 0.88 {90} | 0.54 {55} |
| RS80 | 2.65 {270} | 4.77 {486} | 2.65 {270} | 1.77 {180} | - | 10.7 {1090} | 10.7 {1090} | - | 0.88 {89} |
| RS100 | 3.82 {390} | - | - | - | - | 17.1 {1740} | 17.1 {1740} | - | - |
| RS120 | 3.82 {390} | - | - | - | - | 23.9 {2440} | - | - | - |
| RS140 | 4.61 {470} | - | - | - | - | 32.4 {3300} | - | - | - |
| RS160 | 6.37 {650} | - | - | - | - | 40.9 {4170} | - | - | - |
| 尺寸 | 通用规格 | Lambda规格 | NP规格 | SS规格 |
|---|---|---|---|---|
| RS40 | 1.77 {180} | 1.47 {150} | 1.77 {180} | 0.44 {45} |
| RS50 | 3.14 {320} | 2.55 {260} | 3.14 {320} | 0.69 {70} |
| RS60 | 4.22 {430} | 3.43 {350} | 4.22 {430} | 1.03 {105} |
| RS80 | 7.65 {780} | 6.18 {630} | 7.65 {780} | 1.77 {180} |
| 尺寸 | 通用规格 |
|---|---|
| RS40 | 1.86 {190} |
| RS50 | 2.84 {290} |
| RS60 | 4.02 {410} |
| RS80 | 6.96 {710} |
注)
- 1. SS规格和NS规格在发货前未涂油。如果您要在水下或可能接触水的环境中使用产品,请务必在使用前涂油。
- 2.在不加油的情况下使用时,链条有可能在早期发生弯曲不良。
- 3.最大容许张力是在有油润滑条件下的值(包括水润滑)。
步骤6.间歇操作中链条的选择方法
当使用链条进行间歇操作时,例如与分度装置一起使用时,作用在链条上的张力不仅要考虑为一般的链条选择因素(基于摩擦力的张力 F),还要考虑为由于惯性而产生的附加张力 F1。
附加张力F1通常由F1=mα计算。以这个公式为基础说明计算步骤。
- m=从动侧的总质量 (kg)
- α=最大加速度 (m/s 2)
| SI单位 | {重力单位} | ||||||||
|---|---|---|---|---|---|---|---|---|---|
|
|||||||||
|
1) 求从动侧的总质量m。 m = W + M1 + 1 2 M2 注) 1 2 M 2:链轮惯性力的近似值,换算成链。 |
|||||||||
|
2) 通过F1=mα求出最大加速度α (m/s 2) 和惯性产生的附加张力。 例如,使用凸轮式索引装置时,最大加速度α由
请使用与凸轮曲线相应的Am值。
详情请咨询分度制造商。 |
|||||||||
|
3) 计算基于惯性的附加张力的全作用张力F Σ。 FΣ = F + F1/1000 F:基于摩擦力的链张力 (kN) 3) 计算基于惯性的附加张力的全作用张力F Σ。 FΣ = F + F1/G F:基于摩擦力的链张力 (kN) G:重力加速度9.80665 (m/s 2) |
|||||||||
|
4) 确定链大小 F Σ Kv ≤最大容许张力 Kv:速度系数 (表4) |
|||||||||
|
5) 也请检查链条的滚子容许负荷。 ×
(可以通过拖动来移动)
以润滑状态下使用为前提,是不会产生滚子旋转不良的标准值。 |
|||||||||

