小型输送链简易选择工具
目标品种
通用小型输送链:
RF2□□□S/R,RS□□□
耐环境腐蚀的小型输送链:
RF2□□□S/R-SS、RF2□□□S/R-AS、RF2□□□S/R-NP、RF2□□□S/R-NEP
RS□□□-SS、RS□□□-AS、RS□□□-NP、RS□□□-NEP
RS□□-PC、RF2□□□RP、RF2□□□RP-SS、RF2□□□RP-NP
RF2□□□RPSN、RF2□□□RPSN-SS、RF2□□□RPSN-NP
免加油小型输送链:
RF2□□□S/R-LMC、RS□□□-LMC、RF2□□□S/R-LMCX、RS□□□-LMCX
特殊小型输送链:
RF20□□S/R-CU,RS□□-CU
间歇式输送链:
RF20□□R-NB、RF20□□R-NBH、RF20□□R-NC
*1 对于上述未列出的产品,请填写小型输送链询价单,说明您的使用条件并提交产品询价。
关于使用内容
- 在使用椿本工业用机械产品信息网站小型输送链简易选择工具(以下简称“本工具”)之前,请务必阅读以下使用注意事项和免责声明,并且只有在您同意所有内容的情况下才能使用本工具。
- 如果您不同意,请不要使用此工具。
使用注意事项・免责声明
选型计算 小型输送链
连锁品种的初步选定
请选择链规格。
类型
滚子式
规格_1
规格_2
规格_3
*如果您正在考虑使用不锈钢NS、不锈钢LSK或KF规格,
请联系以下咨询台。
请输入或选择下述使用条件,按下临时选定按钮。
| 速度系数Kv | |
| 重力加速度 | 9.80665 |
| 摩擦系数f1 |
| 最大静态张力kN |
|---|
| 尺寸 | |
|---|---|
| 最大容许张力kN | |
| 近似质量kg/m | |
| 螺距mm |
初步选定了人选。
请查看下方滚轮和附件的允许载荷。
未找到满足输入条件张力的链。
检查允许负载
滚子容许负荷
本值为辊套间有润滑值。
| 尺寸和滚轮形式 | 滚子 容许负荷kN |
|---|
※RS25、RS35为轴承式,不带滚子。如果打算使用的话,请到下面的咨询窗口咨询。
附件的允许载荷
附件允许载荷
| 尺寸 | 钢 kN |
Sten 蕾丝 kN |
|---|---|---|
| RF2040 | 0.262 | 0.108 |
| RF2050 | 0.455 | 0.189 |
| RF2060 | 1.06 | 0.419 |
| RF2080 | 1.67 | 0.646 |
| RF2100 | 2.51 | 1.15 |
| RF2120 | 3.68 | 1.79 |
| RF2160 | 5.84 | 3.13 |
| 尺寸 | 钢 kN |
Sten 蕾丝 kN |
|---|---|---|
| RS25 | 0.028 | 0.012 |
| RS35 | 0.094 | 0.036 |
| RS40 | 0.13 | 0.054 |
| RS50 | 0.243 | 0.101 |
| RS60 | 0.376 | 0.148 |
| RS80 | 0.591 | 0.233 |
| RS100 | 0.933 | 0.361 |
| RS120 | 1.39 | 0.629 |
| RS140 | 1.82 | 0.869 |
| RS160 | 2.36 | 1.19 |
| 尺寸 | 外套 托kN |
内前 托kN |
|---|---|---|
| RF2040R | 0.12 | 0.03 |
| RF2050R | 0.18 | 0.05 |
| RF2060R | 0.47 | 0.13 |
| RF2080R | 0.72 | 0.21 |
・附件A 可承受的垂直载荷的作用点是附件安装孔的位置。
・K型附件威力是A型附件的两倍。
- 如需其他类型的附件,请联系我们。

确保滚轮和附件上的负载低于上表中的值。
如果超过此值,则更换为能够承受负载的链条尺寸,然后进行最终选择。
计算作用在链上的最大张力 (F)
请选择交货形式。
请输入或选择下述使用条件,点击选定实行按钮。
| 类型 | |
|---|---|
| 滚子式 | |
| 规格_1 | |
| 规格_2 | |
| 规格_3 |
| 输送速度V | |
|---|---|
| 搬运物总质量 W | |
| 导向系统 | |
| 辊套间润滑 |
| 速度系数Kv | |
|---|---|
| 重力加速度 | 9.80665 |
| 摩擦系数f1 |
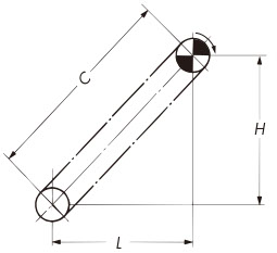
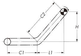
スプロケット中心距離(水平方向) L
m
スプロケット中心距離(垂直方向) H
m
スプロケット中心距離(傾斜搬送) C
m
スプロケット中心距離2(水平・傾斜搬送) C2
m
附件类型
附件安装间隔
每个链节一个
每米夹具质量
法国面包、围裙等
kg/m
PLEASE WAIT...
正式选定完成了。请确认以下选定结果。
临时选定的型号张力不足。
请将临时选定的链子尺寸变更为更大的链子尺寸,然后进行正式选定。
选定结果
| 平行/单排 | 作用张力kN (每支) |
品名 | 容许张力kN | 张力余量 | 滚子容许负荷 kN |
功率要求kW |
|---|---|---|---|---|---|---|
※RS25、RS35为轴承式,不带滚子。如果打算使用的话,请到下面的咨询窗口咨询。
确保滚轮和附件上的负载低于允许值。
此计算结果为近似值。根据使用温度、环境氛围及其他条件,有可能无法使用,敬请谅解。
お問合せ先について
ホームページからのお問合せ
中国語でのお問い合わせは、つばきグループホームページの問合せページを開きます。
英語でのお問い合わせは、つばきグループホームページの問合せページを開きます。
