技术资料大型输送链操作

7.使用极限

下面就传送链各部件的使用界限进行说明,请定期检查各部件的磨损程度。

这个使用界限是根据传送链自身的性能决定的值。从传送带本身的使用上来说有界限的情况下,请以那个为基准。

同时更换链条和链轮。

7.1各部分的使用限制

7.1.1R滚子、F滚子

以由于触轨面及与衬套滑动部分的磨损,板的下面开始接触导轨时为极限。

R·F滚子的极限

R·F滚子的极限

此外,导轨有弯曲部分时,如下图所示,只有相当于S的尺寸磨损较少,敬请注意。

减少磨损

减少磨损

7.1.2S·M·N滚子

由于磨损,滚子厚度变为40%时。

7.1.3套筒

因磨损衬套壁厚达到40%时 (无法从外观检查) 。

7.1.4 C销

由于磨损,销钉直径变为85%时 (无法从外观检查)

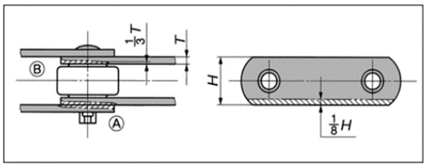
7.1.5钢板厚度和宽度的磨损

板之间的滑动以及滚子侧面和板内面之间的滑动会产生磨损,如下图 (左) 中的AB所示。

磨损量超过板材正常厚度的1/3时为寿命。

此外,当钢板直接搬运物或钢板上滑动时,例如在输送机的链条上,当钢板的宽度 H 磨损到大约 1/8H 时,钢板的使用寿命就结束了,如下图(右)所示。

板磨损

板磨损

7.1.6链条磨损伸长

链条与链轮啮合时,在导轨的弯曲部弯曲。由于此时衬套和销子的滑动产生的磨损,链条的全长会延长。

该链条的伸长极限通常为标准长度(节距 x链节数)的 2%(对于 100 mm的节距,每个链节的伸长量为 2 mm)。

  • 1) 链条长度的测量方法
    チェーン長さの測り方

    在施加张力的地方,如上图所示,尽可能多地测量偶数链节 (至少4个链节以上) 。

    请使用 (A) 或 (B) 测量位置。

    (A)从销钉中心到销钉中心

    (B)销钉的一端到另一端

  • 2) 链伸长率 (%)

    用A、B中的任意一种方法测量链条的长度,与基准长度对比后,求出链条的伸长率 (%) 。

    链条延伸= 测量尺寸-基准长度 基准长度 ×100 (%)

7.1.7链轮齿面磨损、侧面磨损

链轮的齿部在磨损的状态下咬合链条的话,有时链条的磨损会变快。

链轮也和链条一样,请定期检查。

  • 1) 链轮齿面的磨损极限,请以下图为基准。

    齿面磨损

    齿面磨损

    牙齿侧面磨损

    牙齿侧面磨损
  • 2)如果牙齿磨损,建议更换。如果齿底磨损,请勿反装。