技术资料联轴器处理

ECHT挠性联轴器NER 系列

本文介绍了ECHT挠性联轴器一般操作方法。详细信息请参阅产品附带的使用说明书。

1.在轴上安装轮毂

注意事项

  • *1请对照使用说明书中的组件清单检查联轴器的组件。
  • ※2中心单元在工厂进行最佳组装。请不要拆卸,直接使用。
  • ※3避免对中心单元施加过大的力,特别是在轴向。磁盘可能会以弯曲的状态固定,从而影响性能。

安装步骤

  • (1) 请确认驱动轴、从动轴、轮毂内径是否有毛刺、伤痕、污渍、生锈等,并擦拭灰尘和油分。
  • (2)将轮毂安装到各根轴上。为了实现过盈配合,用加热的油(低于 150°C)均匀加热轮毂,然后迅速将其安装到轴上的指定位置。
  • (3) 轮毂的法兰面间距尺寸请参照下一节“2.对中 (1) 法兰面间尺寸 (J) 的调整”。

2.用心

联轴器的初始定心精度越高,使用过程中产生的偏心旋转应力就越小。

轴承磨损、安装面沉降、温度变化引起的状况变化、振动引起的使用变化等都会缩短设备和联轴器的使用寿命。

请定期按照以下步骤进行调整:。

心出し

联轴器的法兰面尺寸误差、允许的角度偏差和偏心率是相互关联的,当一个增大时,另一个就会减小,因此必须同时考虑它们。

请在下面的推荐值以下,首先确保用心。

(1) 调整法兰面间尺寸 (J)

测量中心单元的总长度,并将其值作为J尺寸。
(根据零件公差的组合,中心单元的总长度可能比公称值长或短。在这种情况下,即使将轮毂设置在图纸基准尺寸J±0.5mm以内,也有可能难以装入中央单元。)

每隔90度测量4处J尺寸,调整轮毂位置使其平均值在J±0.5mm以内。驱动轴、从动轴为阶梯轴时,调整厚度可能会受到限制,因此请事先注意J尺寸可调整。

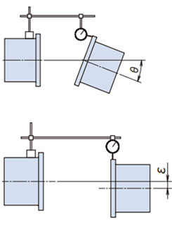
(2) 调整偏角 (θ)

  • (a)如图所示,将千分表固定在单侧轮毂上,然后旋转轮毂找到千分表的最小读数并将其设置为零。
  • (b)将拨号盘侧的轮毂旋转360度,读取偏转角数值。
  • (c)用垫片等移动设备进行调整,使千分表的读数在表1的偏角推荐值范围内。
偏角(θ)の調整

(3) 偏心 (ε) 调整

  • (a)如图所示,将千分表安装到轮毂法兰上,然后旋转轮毂以找到千分表的最小读数并将其设置为零。
  • (b)将用千分表固定的轮毂旋转360度,读取偏心值。
  • (c)轮毂外周部分的颤动,有时会在轮毂的槽孔部分发生异常颤动。这是因为加工槽孔部分时,法兰向外周方向膨胀,因此读取时请避开该部分。
  • (d)用垫片等移动设备进行调整,使千分表的读数在表1或表2中偏心推荐值的2倍以内。
  • (e)移动设备以调整偏心时,请再次调整偏角。
偏角(ε)の調整
表1.定心推荐值/标准间隔
型号 定心推荐值
偏角 偏心
ε [mm]
法兰
面间尺寸
J [mm]
θ
[deg]
T.I.R.
[mm]
NER59W 0.35 0.33 0.18 ±0.5
NER93W 0.35 0.39 0.22 ±0.5
NER230W 0.25 0.31 0.18 ±0.5
NER360W 0.25 0.36 0.22 ±0.5
NER630W 0.25 0.43 0.22 ±0.5
NER850W 0.25 0.48 0.25 ±0.5
表2对中推荐值/长间隔
型号 定心推荐值
偏角 偏心
(计算公式)
ε [mm]
法兰
面间尺寸
J [mm]
θ
[deg]
T.I.R.
[mm]
NER59W 0.35 0.33 (J-44.4)×0.31×10-2 ±0.5
NER93W 0.35 0.39 (J-50.6)×0.31×10-2 ±0.5
NER230W 0.25 0.31 (J-58.8)×0.22×10-2 ±0.5
NER360W 0.25 0.36 (J-70.0)×0.22×10-2 ±0.5
NER630W 0.25 0.43 (J-76.4)×0.22×10-2 ±0.5
NER850W 0.25 0.48 (J-86.6)×0.22×10-2 ±0.5

偏角和偏心的关系

偏角和偏心的关系

3.中心部件安装

  • (1)参考使用说明书中的组件图,将中心单元安装到轮毂上。
    センタユニット取付け

    图1.中心单元的安装

    轮毂外周和中央单元外周各2处 (单侧) 有配合标记 (线) 。

    这些相位必须匹配。

    中央单元没有方向性,左右都可以安装。

  • (2) 用定位螺栓及六角孔螺栓固定轮毂和中心组件。

    此时,请将定位螺栓 (头部为绿色的螺栓) 插入配合标记 (线) 部的槽孔中。不进入其他的槽孔。

    定位螺栓(绿色头部的螺栓)在每侧的两个位置对称地使用,角度为 180°(每个联轴器四个位置)。

    位置決めボルトおよび六角穴付ボルトの挿入

    图2.插入定位螺栓和六角孔螺栓

    定位螺栓及六角孔螺栓请务必使用表3的『定位螺栓及六角孔螺栓的拧紧扭矩』拧紧。

    表3.定位螺栓及六角孔螺栓的拧紧扭矩
    型号 螺栓尺寸 拧紧扭矩
    [N・m]
    NER59W M6 14
    NER93W M6 14
    NER230W M6 14
    NER360W M8 34
    NER630W M10 67
    NER850W M10 67
  • (3) 组装完成后,请取下光盘部分的光盘保护板。
    ディスク保護板

    磁盘保护板每侧安装2个,共计4个。

4.检查

请在进入实际运行1~2小时后,再次检查偏角和偏心。

此时,请按表3规定的扭矩重新拧紧定位螺栓及六角孔螺栓。

此外,每半年~1年请确认零部件无异常或定位螺栓及六角孔螺栓无松动。

为了检查是否有松动,建议安装后在定位螺栓、六角孔螺栓和轮毂上做好标记。

请检查其他零件是否有异常。