技术资料减速机小齿轮电机搬运
本节介绍齿轮减速电机、准双曲面齿轮减速电机和Croise减速电机的一般操作方法。
详情请参阅产品附带的使用说明书。
扭矩臂设计
使用标准扭矩臂或自行设计、制造扭矩臂时,请按照以下要领确认各要素的强度。
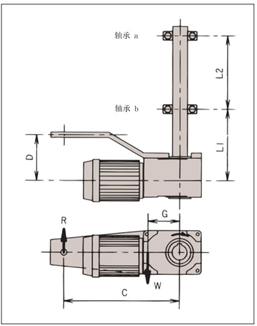
1.检查扭矩臂和固定螺栓
请通过扭矩臂反作用力R进行确认。
R = T + W × G C
2.轴承的选择
请通过轴承反作用力A、B进行确认。
A (轴承a) = L1× (R-W) -D×R L2
B (轴承b) = (L1+L2) × (R-W) -D×R L2
- T:输出扭矩N・m{kgf・m}
- W:减速机的重量(kgf)
- R:扭矩臂反力kg{kgf}
- G:从动轴中心与减速机重心之间的距离(米)
- C:从动轴中心与止转间的距离m
- D:减速机中心与防旋转止动器之间的距离(米)
- L1:减速机中心与轴承 b 之间的距离 m
- L2:轴承a与轴承b之间的距离m
*输出扭矩在左图旋转方向时为+,相反方向时为-。
使用选配扭矩臂时的各尺寸 (概略值)
| 机型型号 | G |
|---|---|
| HMTA010-30H5~35H1200 HMTA020-30H5~200 HMTA020-45H600~1200 HMTA040-55H600~1200 |
0.10m |
| HMTA020-35H300~480 HMTA040-30H5~35H200 HMTR221-45H5~55H120 |
0.12m |
| HMTR075-35H5~55H480 HMTR151-55H100~200 |
0.13m |
| HMTA040-45H300~480 HMTR151-45H5~80 HMTR370-55H5~60FI |
0.15m |
| HMTR550-55H5~40FI | 0.26m |
