技术资料小型输送链选择
在制造和安装倍速链输送机时,请参考以下尺寸设计数据。
1.输送机两端和链轮的位置
| 尺寸和辊筒类型 | 导轨编号 | Z | L |
|---|---|---|---|
| RF2030VRP | RF2030VRP-R2 RF2030VRP-R2S |
21.3 | 40 |
| RF2040VRP | RF2040VRP-R2 RF2040VRP-R2S |
14.7 | 50 |
| RF2050VRP | RF2050VRP-R2 RF2050VRP-R2S |
16.1 | 60 |
| RF2050VRP-R2HS | 76.2 | 60 | |
| RF2060VRP | RF2060VRP-R2 RF2060VRP-R2S |
14.9 | 70 |
| RF2080VRP | RF2080VRP-R2S | 24 | 100 |
2.铝制框架的加工尺寸
表17的RF2050VRP-R2HS导轨没有驱动/从动部用铝框架。
请参照表17的尺寸对中间框架进行追加加工。
| 尺寸和辊筒类型 | RF2050VRP |
|---|---|
| 导轨编号 | RF2050VRP-R2HS |
| X (驱动侧) | 340 |
| X (从动侧) | 120 |
| Y | 30 |
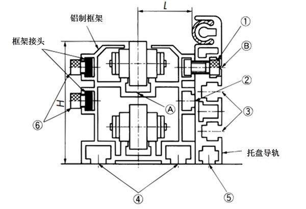
3.安装螺栓和输送机高度
| 框架 | (1) | (2) | (3) | (4) | (5) | (6) | H | L |
|---|---|---|---|---|---|---|---|---|
| RF2030VRP-R2 RF2030VRP-R2S |
M6×10 | M6 | M5 | M6 | M5 | M6×8 | 61.5 | 14.5 |
| RF2040VRP-R2 RF2040VRP-R2S |
M6×12 | M6 | M6 | M8 | M6 | M6×8 | 68 | 28.5 |
| RF2050VRP-R2 RF2050VRP-R2S |
M8×20 | M8 | M8 | M10 | M8 | M8×10 | 82.5 | 36 |
| ※RF2050VRP-R2HS | M8×20 | M8 | M8 | M10 | M8 | M8×10 | 142.5 | 37 |
| RF2060VRP-R2 RF2060VRP-R2S |
M8×20 | M8 | M8 | M10 | M8 | M8×10 | 95 | 44.5 |
| RF2080VRP-R2S | M8×25 | M8 | M8 | M10 | M8 | M8×12 | 130 | 47 |
- 1) 铝制框架间的对齐
以上图箭头 (A) 的V形槽为基准对齐位置,用表18 (4) 的螺栓固定在底座上。 - 2) 铝制框架的连接
对齐后,可用框架接头固定。
※实物之花纹等多少会略有差异。 - 3)托盘导轨安装
在图中箭头 (B) 指示的 V 形槽位置钻出所需尺寸的孔,并用表 18 (1) 中的六角螺栓将其固定。 - 4) *上表中,铝制框架与托盘导轨之间的高度差为 60 mm。
请在托盘导轨下方使用高度调节环。
4.输送机脚间距
根据搬运物重量和表 19 所示的惯性矩进行确定。但是,无论惯性矩如何,设计框架连接时,应使其由支腿支撑。
脚间距的求法 (l)
- I=截面二次力矩 (cm 4) (参照表19)
- W=装载质量 (kg/m)
- δ=挠度 (2mm)
- E = 7.0 × 10 3 (kg/mm 2)
注)由于2根链条并列使用,考虑到负荷不平衡,装载质量 (W) 采用装载质量的 (0.6W) 。
| 分类 | 框架型号 | 截面二次力矩 (I) cm 4 |
|---|---|---|
| 铝制框架 | RF2030VRP-R2 | 17.127 |
| RF2040VRP-R2 | 40.185 | |
| RF2050VRP-R2 | 84.039 | |
| RF2060VRP-R2 | 135.137 | |
| 附钢导轨 铝制框架 |
RF2030VRP-R2S | 17.821 |
| RF2040VRP-R2S | 44.312 | |
| RF2050VRP-R2S | 95.623 | |
| RF2050VRP-R2HS | 442.093 | |
| RF2060VRP-R2S | 171.761 | |
| RF2080VRP-R2S | 360.726 |
※驱动、从动部用框架的截面二次力矩 (I) 也与上述相同。
5.带钢轨的铝制框架
1)截面结构
RF2030VRP
RF2040VRP~RF2080VRP
| 框架型号 | 钢轨 (编号3) | 钢轨安装螺丝 (商品编号4) 十字孔固定螺钉 |
内侧导轨安装螺丝 (商品编号5) 十字孔SARA小螺丝 |
||
|---|---|---|---|---|---|
| 中间用 | 驱动从动用 | 尺寸 (板厚×宽) |
A尺寸 | ||
| RF2030VRP-R2S | RF2030VRP-R1SK, -R1SJ | 3×13 | 4.75 | M3×7 | - |
| RF2040VRP-R2S | RF2040VRP-R1SK, -R1SJ | 3×13 | 8.4 | M4×5 | M4×6 |
| RF2050VRP-R2S | RF2050VRP-R1SK, -R1SJ | 3×13 | 8.4 | M4×6 | M4×6 |
| RF2050VRP-R2HS | - | 3×13 | 8.4 | M4×6 | M4×6 |
| RF2060VRP-R2S | RF2060VRP-R1SK, -R1SJ | 3×13 | 8.4 | M4×6 | M4×6 |
| RF2080VRP-R2S | RF2080VRP-R1SK, -R1SJ | 6×16 | 10.5 | M5×8 | M6×10 |
2)中间框架装配图
3)驱动部用、从动部用框架装配图
- ·RF2050VRP-R2HS没有驱动从动部用框架。
- ·上图中右端的下侧有刻痕加工。(RF2030VRP-R1K示例)
4)带钢轨的铝制框架使用注意点
- 1.切割使用带钢轨的铝制框架时
- (1)切断框架中央部分或螺钉部分以外的部分。
- (2)移除剪切面上的毛刺等。
- (3)在距离切断面15~30mm的地方,用螺丝固定钢轨和内轨、内轨和主体框架。
- (4)加工全部以零件单体进行,完全去除加工产生的毛刺、毛刺等,进行再组装。45°切割部也请不要有出入。
- 2.车架连结时
车架连结后,钢轨的接合面若有落差(纵向/横向)时,请稍微倒角以避免链条的滚子卡住。
